MCGILL PCF7軸承代號說明
P
                                            C
                                                F
                                            7
                                            P:平面外圈剖面
                                
                CF:Cam Follower,螺栓滾輪軸承
                                
                7:公稱軸承外徑:7 in
                                P:
平面外圈剖面
                    CF:
Cam Follower,螺栓滾輪軸承
                    7:
公稱軸承外徑:7 in
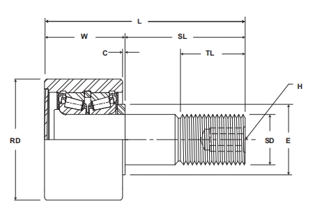
                    MCGILL PCF7軸承尺寸、參數與圖紙
| 基本尺寸 (in) | |
| 凸輪外徑 RD | 6 | 
| 凸輪寬度 W | 3 | 
| 螺柱直徑 SD | 2.5 | 
| 螺柱直徑公差 | +0/-0.001 | 
| 螺柱長度 SL | 5.5 | 
| 端板加長件 C | 0.06 | 
| 螺紋長度 TL | 3.25 | 
| 螺栓滾輪總長度 L | 8.5 | 
| 安裝尺寸 (in) | |
| 六角孔徑 H | 0.875 | 
| 最小凸臺直徑 E | 3.25 | 
| 殼體孔徑 | 2.501 | 
| 殼體孔徑公差 | ±.001 | 
| 其他參數 | |
| 滾動體類型 | 圓錐滾子 | 
| 偏心尺寸 ECC | - | 
| 偏心尺寸 G | - | 
| 偏心尺寸 BD | - | 
| 螺紋類型 | 2 1/2-12 | 
| 夾緊力矩 N·m | 5000 | 
| 重量(kg) | |
| 30 | |
| 載荷(lb) | |
| 滾輪動載荷 | 35800 | 
| 滾輪動態推力載荷 | 14200 | 
| 滾輪靜載荷 | 62000 | 
 
                      	                      	 
                      	                      	 
                      						MCGILL軸承推薦
| MCGILL ROLLWAY-NU308EMC3軸承 | 基本尺寸,內徑:40.00000mm,外徑:90.00000mm,厚度:23.00000mm。 | 
| MCGILL GR28+MI23軸承 | 基本尺寸,內徑:1.75000mm,外徑:2.31250mm,厚度:1.25000mm。 | 
| MCGILL GR26SS+MI21軸承 | 基本尺寸,內徑:1.62500mm,外徑:2.18750mm,厚度:1.25000mm。 | 
| MCGILL ROLLWAY-NU214EM軸承 | 基本尺寸,內徑:70.00000mm,外徑:125.00000mm,厚度:24.00000mm。 | 
| MCGILL ROLLWAY-NU315EMC3軸承 | 基本尺寸,內徑:75.00000mm,外徑:160.00000mm,厚度:37.00000mm。 | 
FAG軸承推薦
| FAG 6216-H-2Z-SN-C3軸承 | FAG 6216-H-2Z-SN-C3軸承,市場價:¥136.50元,當前庫存41套,添加時間:2023-08-17 15:04:31 | 
| FAG 32013-X軸承 | FAG 32013-X軸承,市場價:¥131.25元,當前庫存4套,添加時間:2023-08-19 22:29:29 | 
| FAG 24084-BEA-XL-MB1-C3軸承 | FAG 24084-BEA-XL-MB1-C3軸承,市場價:¥36320.89元,當前庫存1套,添加時間:2023-08-20 18:06:39 | 
| FAG HCB7216-E-T-P4S-UL軸承 | FAG HCB7216-E-T-P4S-UL軸承,市場價:¥9325.05元,當前庫存2套,添加時間:2023-08-21 16:29:19 | 
| FAG NNU4922-S-M-SP-C2軸承 | FAG NNU4922-S-M-SP-C2軸承,市場價:¥5886.28元,當前庫存2套,添加時間:2023-08-21 21:31:58 | 
IKO軸承推薦
| IKO CR10-1R軸承 | 基本尺寸,內徑:6.35000mm,外徑:15.87500mm,厚度:10.31900mm。 | 
| IKO SB22A軸承 | 基本尺寸,內徑:22.00000mm,外徑:37.00000mm,厚度:19.00000mm。 | 
| IKO BA4412ZOH軸承 | 基本尺寸,內徑:69.85000mm,外徑:79.37500mm,厚度:19.05000mm。 | 
| IKO CF18VBUU軸承 | 基本尺寸,內徑:18.00000mm,外徑:40.00000mm,厚度:20.00000mm。 | 
| IKO CF8VBUU軸承 | 基本尺寸,內徑:8.00000mm,外徑:19.00000mm,厚度:11.00000mm。 | 

 
	
 
                     
                     
  
  
 