IKO BR445628軸承代號說明
B
                                                R
                                            4
                                                4
                                            5
                                                6
                                            2
                                                8
                                            BR:英制車削型滾針軸承
                                
                44:內徑代號,內徑:44/16 in
                                
                56:外徑代號,外徑:56/16 in
                                
                28:寬度代號,寬度:28/16 in
                                BR:
英制車削型滾針軸承
                    44:
內徑代號,內徑:44/16 in
                    56:
外徑代號,外徑:56/16 in
                    28:
寬度代號,寬度:28/16 in
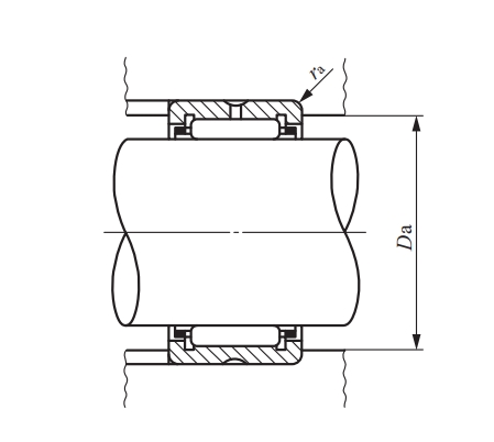
                    IKO BR445628軸承尺寸、參數與圖紙
| 基本尺寸 (mm) | |
| 軸徑 d | 69.85 | 
| 滾子下直徑 Fw | 69.85 | 
| 外徑 D | 88.9 | 
| 外圈厚度 C | 44.45 | 
| 標準安裝尺寸 (mm) | |
| Da Max. | 80.7 | 
| 倒角 rs min | 2 | 
| 重量(g) | |
| 600 | |
| 載荷(N) | |
| 動態基本額定載荷 | 114000 | 
| 靜態基本額定載荷 | 228000 | 
| 其他參數 | |
| 極限轉速 /min | 5500 | 
| 其他品牌替代型號(為基本代號,僅供參考,詳細請咨詢客服) | |
| INA | NCS445628 | 
| NTN | MR445628 | 
| TORRINGTON | HJ445628 | 
| NSK | HJ445628 | 
| McGILL | MR445628 | 
IKO BR445628軸承相關產品推薦
| 其他型號 | 市場價 | 喬峰價 | 庫存 | 
| IKO =MR-44軸承 | ¥287.3元 | - | 39 | 
 
                      	                      	 
                      						IKO軸承推薦
| IKO NAS5032ZZNR軸承 | 基本尺寸,內徑:160.00000mm,外徑:240.00000mm,厚度:109.00000mm。 | 
| IKO CFKRE35UU軸承 | 基本尺寸,內徑:20.00000mm,外徑:35.00000mm,厚度:18.00000mm。 | 
| IKO YT1725軸承 | 基本尺寸,內徑:17.00000mm,外徑:24.00000mm,厚度:25.00000mm。 | 
| IKO YB105/MF3軸承 | 基本尺寸,內徑:15.87500mm,外徑:20.63800mm,厚度:7.92000mm。 | 
| IKO GE180ES-2RS軸承 | 基本尺寸,內徑:180.00000mm,外徑:260.00000mm,厚度:105.00000mm。 | 
TIMKEN軸承推薦
| TIMKEN 358A/354A軸承 | TIMKEN 358A/354A軸承,市場價:¥620.25元,當前庫存26套,添加時間:2023-09-15 09:13:11 | 
| TIMKEN 444/432X軸承 | TIMKEN 444/432X軸承,市場價:¥2048.18元,當前庫存17套,添加時間:2023-09-14 22:13:02 | 
| TIMKEN 5564/5521軸承 | TIMKEN 5564/5521軸承,市場價:¥2590.66元,當前庫存65套,添加時間:2023-09-15 10:36:32 | 
| TIMKEN HM803149/HM803110軸承 | TIMKEN HM803149/HM803110軸承,市場價:¥294.00元,當前庫存13套,添加時間:2023-09-05 15:19:19 | 
| TIMKEN 462/453B軸承 | TIMKEN 462/453B軸承,市場價:¥317.73元,當前庫存42套,添加時間:2023-09-05 16:28:50 | 
NSK軸承推薦
| NSK 7932CTYNSULP4軸承 | NSK 7932CTYNSULP4軸承,市場價:¥2310.00元,當前庫存2套,添加時間:2023-08-29 21:25:56 | 
| NSK 7008A5TRDULP3軸承 | NSK 7008A5TRDULP3軸承,市場價:¥1530.22元,當前庫存2套,添加時間:2023-08-29 10:46:36 | 
| NSK 100BER10ETYNSUELP-01 Q軸承 | NSK 100BER10ETYNSUELP-01 Q軸承,市場價:¥1859.39元,當前庫存18套,添加時間:2023-08-29 20:52:02 | 
| NSK 90BNR10XTDBBP4+3KL03 5軸承 | NSK 90BNR10XTDBBP4+3KL03 5軸承,市場價:¥21548.50元,當前庫存20套,添加時間:2023-08-29 20:29:14 | 
| NSK 80BER19XTXV1VSUELP3軸承 | NSK 80BER19XTXV1VSUELP3軸承,市場價:¥3045.00元,當前庫存2套,添加時間:2023-08-29 19:19:49 | 

 
	
 
                     
                     
  
 